Варианты поверхности
Как и множество других изделий, которые делаются самостоятельно, доска может стать не только прибором для работы, а еще и отличным украшением. Поэтому существует несколько вариантов того, как сделать разделочную доску.
Естественно, что отличаться они могут по материалу, который используется для изготовления. Это может быть древесина, фанера. Что касается самостоятельного изготовления из фанер, то это самое бюджетное решение и самое простое
Здесь стоит обратить внимание, что в данном случае работает следующее правило — чем толще фанера, тем лучше. Тонкий материал для работы не подойдет
Что касается досок из древесины, то этот вариант наиболее практичный. Также этот материал отличается более длительным сроком эксплуатации. Если стоит вопрос о том, как сделать разделочную доску бюджетной, то можно брать не только фанеру, но и доску сосны или же березы. Хотя наиболее долговечными и гигиеничными породами считаются дуб, бук или акация.
Порядок работ:
- Вырезать из бумаги шаблон – лучше всего нарисовать его на сложенном пополам листке, чтобы добиться точной симметрии.
- По выкройке сделать разметку на подготовленной цельной доске.
- Электролобзиком выпилить заготовку по контуру. Если у вас сложный эскиз, предусматривающий дуги малого радиуса, эти участки лучше прорезать, установив пилку по металлу – она дает более точную линию.
- Заготовку доски необходимо тщательно отшлифовать, используя круги разной зернистости. Обязательно нужно снять фаски и ошкурить все углы.
- Полностью готовое изделие обработать вазелиновым маслом, давая ему хорошо впитаться и высохнуть, повторив эту операцию несколько раз. Кстати, не стоит гоняться за супердорогим минеральным маслом «специально для досок». Это та же жидкость, что продается в любой аптеке, просто названная по-другому.
- Когда масло начнет проступать на поверхности, его нужно удалить сухой ветошью и оставить доску на сутки до полного высыхания.
Мастера своего дела могут сделать практически любой узор на поверхности торцевой доски, ведь она состоит из отдельных брусочков. Для это достаточно использовать разные породы деревьев или даже древесину деревьев разного возраста:
- Шахматное плетение — брусочки двух цветов склеивают в шахматном порядке. Такую доску можно при желании действительно использовать для интеллектуальной игры.
- Корзинное плетение — бруски дерева как будто переплетаются между собой, но на самом деле этого не происходит. Узор напоминает плетеную корзинку.
- Сложный орнамент — по желанию клиента мастер может создать любой орнамент на поверхности или даже вырезать целую картину.
Корзинное плетение
Сложный узор
Шахматное плетение
Формирование ассортимента
Чем больше вариантов продукции предложить потребителю, тем больше шансов увеличить продажи. Ассортимент досок подбирается в зависимости от разных факторов:
- По функциям. Одни служат прибором для приготовления пищи, а другие выполняют роль декоративного аксессуара.
- По толщине и назначению. На тонких разделочных досках удобно резать продукты, не требующие физических усилий – хлебобулочные и колбасные изделия, сыр, фрукты. А для мяса или рыбы больше подойдут доски толщиной от 20 мм.
- По цвету и фактуре. Стандартный вариант – доска из нескольких полос древесины. Цена на нее будет небольшой – от 500 руб. Но если деревянные элементы выложены в шахматном порядке или формируют рисунок 3D, стоимость изделия доходит до 30 тыс. руб.
Дополнительным плюсом будет изготовление заказов по индивидуальному эскизу. Такая работа оценивается дороже и поможет в продвижении личного бренда – будет свидетельством высокого уровня мастерства, что поможет привлечь новых клиентов.

Ассортимент досок
Выбор материала
Для разделочной доски понадобится мелкослойное дерево высокой плотности. Предпочтительнее лиственные породы. На древесине не должно быть трещин, сучков или следов гнили.
Сырьем для декоративных досок служит дерево разных оттенков и фактур. Рекомендуется использовать следующие виды древесины:
- для получения светлых оттенков – белую акацию, клен или ясень;
- для коричневой гаммы средней насыщенности – дуб, стволовую часть ореха, граб;
- для темно-коричневых или красноватых оттенков – махагони, европейский бук;
- для черных тонов – эбен, палисандр;
- для нанесения фотокартин – ель, у нее ровная по тону основа со слабо выраженными годовыми кольцами.
Средняя стоимость бруса – 5-15 тыс. руб. Конечная стоимость зависит от породы и части дерева, которая пошла на древесину. Чаще всего используется корневище, кап, или низ ствола.
Размеры и форма
Классический вариант – разделочная поверхность в виде прямоугольника. Дополнить ассортимент можно следующими формами:
- геометрическими фигурами;
- очертаниями овощей или фруктов;
- силуэтом рыбы или птицы.
Если доску планируют использовать как элемент декора, ее украшают резьбой, фотокартиной или вставками из камней или металла.
Размеры разделочной поверхности подбираются в зависимости от ее назначения. Для хлеба и сыра подойдут небольшие доски – 18х26 см. А для нарезки мяса, капусты или раскатывания теста понадобятся изделия размером 45х48 см.
Материалы для изготовления кухонной доски
- бук,
- сосна,
- береза,
- дуб,
- акация,
- бамбук,
- гевея.
- камень;
- пластик;
- стеклокерамика;
- силикон.

Фото доски из пищевого пластика
А теперь кратко рассмотрим все виды материала.
Дерево
Разделочные доски для кухни из дерева, видимо, самые популярные. Зачастую, в магазинах вы можете встретить буковые или сосновые, но они очень впитывают влагу, крошатся, и в сколах и прорезях скапливаются остатки продуктов. Следовательно, сосновые и буковые доски предпочтительно применять для нарезки хлеба и сухих продуктов.
Безупречным материалом считается бамбук и гевея:
- у них высокая прочность;
- они устойчивы к нагрузкам;
- не разбухают в воде и не впитывают влагу;
- хорошо моются;
- не тупят ножи;
- не поглощают запахи.
Подобные доски – предпочтение профессионалов! На натуральные, из гевеи и бамбука цена достаточно высока, а из дуба и акации – еще выше, но за качество можно и переплатить.
Долговечность деревянных досок зависит от правильности выбора
Камень
Разделочные кухонные доски из камня, мрамора или гранита выглядят очень красиво. И к тому же мрамор имеет бактерицидные свойства. Каменная доска пригодится для работы с тестом, оно выходит тонким, ровным и прохладным.
При ее покупке – помните, что камень материал дышащий. Такие изделия необходимо постоянно чистить и полировать.
Не нужно на мрамор ставить горячее, так же не любит он и кислот. Ну, а если вы много работаете с тестом, то, соответственно, кухонная доска из мрамора на вашей кухне будет просто незаменима.
Подобные принадлежности долговечны и при правильном уходе могут прослужить не один десяток лет
Пластик
Качественный пластик:
- теплостойкий,
- гигиеничный,
- долговечный,
- влагоустойчивый.
Помимо этого, пластик позволяет производителю фантазировать с:
- формой,
- цветом,
- дизайном
Но все эти определения применимы к качественным вещам. Дешевый пластик быстро загрязняется, царапается и теряет свою привлекательность.
Пластик служит очень долго и не поддается влиянию продуктов
Стеклокерамика
Все чаще и чаще в продаже встречаются стеклянные доски для кухни. Они всем хороши:
- прочные,
- яркие,
- устойчивы к сколам,
- легко моются,
- не реагируют на высокую температуру.
Но как кухонная принадлежность они вряд ли пригодятся.
Причины очевидны:
- о стеклянную поверхность быстро тупятся ножи;
- звук, издаваемый при работе, нравится далеко не всем.
Но, например, для разделывания рыбы – это идеальный вариант, потому что стекло не впитывает запах. И как подставка под горячее – пожалуйста. И кстати, прекрасно подойдут для украшения интерьера вашей кухни.
Такие изделия гигиеничны и легки в уходе
Силикон
Разделочная доска для кухни из силикона давно уже не фантастика, они:
- не скользят;
- не окрашиваются соком фруктов и овощей;
- не впитывают запахи;
- не тупят ножи.
К преимуществам можно отнести еще и то, что они удобны в хранении, их можно свернуть в трубочку и положить в кухонный шкаф. Только досками их называть, как-то достаточно сложно, скорее, это коврики. Но, по большому счету, это не принципиально – функции у них одинаковы.
Необычные, практичные и красивые
Поскольку с материалами все просто и понятно, то в формах, оформлении и необычных функциях фантазия дизайнеров безгранична.
Рассмотрим некоторые:
- Классический вариант – это большая доска, сделанная из различных пород дерева, со стоком для жидкости, с металлической окантовкой и встроенным ножом.
- Обычная деревянная – это хорошо, а выдвижная разделочная доска на кухне еще лучше. Ее плюс в том, что она выдвигается из шкафа и не занимает место, а минус – ее нельзя перенести в другую часть кухни – стационарное изделие, так сказать.
- Так же, очень полезным устройством будет прямоугольная поверхность со встроенными выемками, в которые уложены маленькие мисочки для продуктов. Не нужно носить снова и снова доску к тарелке, просто сдвигаем ножом резаный продукт в одну из мисочек и продолжаем работу.
- Для тех, кто не хочет ходить от стола к мусорному ведру для кухни, придумали доску со встроенным контейнером для мусора: например, почистили вы лук, выдвинули контейнер и высыпали в него шелуху.
Очень удобная – с маленькими мисочками
Можно сказать, что сделать такие кухонные доски своими руками будет сложно, но если есть желание, упорство, умелые руки и инструкция, которая поможет вам в этом деле, то все в ваших руках.
Способы изготовления
Если рассмотреть по отдельности варианты изготовления, то тут тоже есть несколько вариантов:
- Итак, первым вариантом будет цельная доска. Иными словами, разделочная доска будет полностью вырезана из древесного массива или же из фанеры, если вы выбрали второй материал.
- Как сделать доску для разделки продуктов из отдельных фрагментов? На самом деле такой вариант имеет место быть. Тут стоит сразу же отметить, что цельные доски вырезать намного проще, но также конкретно склеенное изделие будет считаться самым прочным, потому что подобное изделие будет в меньшей степени подвержено деформации. Еще одним достоинство будет то, что подобный способ дает возможность создавать доску практически любого размера и формы.
Есть еще пару разделений на несколько видов, и многое будет зависеть от размера и формы. Так, создать разделочную доску собственноручно допускается в виде цельного изделия, это стандарт. Есть и другой вариант исполнения, а именно раздвижные доски. Лучше всего ставить их на возвышение, потому что в таком случае будет удобно убирать порезанные продукты.
Еще весьма удобной формой будет использование доски с отсеком для кожуры, обрезков. Два последних вида достаточно практические и простые – это угловая доска, а еще дощечка на ножках.
Размер и форма – по назначению и предпочтениям
Определиться с размером разделочной доски просто. Ориентируйтесь на размер продуктов и их количество.
- Для разделки курицы, мяса и рыбы рекомендуется доска 30 на 50 см толщиной 3-4 см.
- Для нарезки овощей для салатов и различных блюд – 20 на 30 см.
- Для хлеба – 20 на 30 см.
- Маленькие дощечки подойдут для сыра и колбас для бутербродов, зелени.
Помимо круглых, прямоугольных и квадратных разделочных досок, есть модели в виде яблок, помидоров, рыбы, полумесяца. Не спешите улыбаться, форма помогает не перепутать приспособления и обойтись без подписи.
Для повседневных задач самая удобная форма – прямоугольная, ее же проще хранить на кухне. Круглые нужны для пиццы, пирогов, караваев, тортов.
Разделочные поверхности далеко не всегда гладкие. Очень часто встречаются бороздки. Они нужны для сбора сока от продуктов. Такие модели подходят для овощей, фруктов, мяса.
Подумайте – как вы будете хранить кухонные доски. Наборы часто продаются с подставками. Это красиво и удобно, но потребует места на столе или в шкафу. Удобны подвесные варианты с отверстием или петлей для подвешивания. В таком виде аксессуар быстрее высыхает и не подвергается плесени.
Профилактика
Вы – счастливый обладатель прекрасной разделочной доски из дерева. Пришла пора узнать, как за ней ухаживать, чтобы продлить срок ее службы на многие годы. Правильный уход за разделочной доской предотвратит появление трещин, плесени и микробов.
И не важно, новая доска или старая. Купив новую разделочную доску, сразу же обработайте деревянную поверхность маслом для защиты от влаги, бактерий и запахов пищи
Эту процедуру нужно повторять регулярно по мере высыхания масла. Льняное масло для обработки древесины видео?
Купив новую разделочную доску, сразу же обработайте деревянную поверхность маслом для защиты от влаги, бактерий и запахов пищи. Эту процедуру нужно повторять регулярно по мере высыхания масла. Льняное масло для обработки древесины видео?
Масло заполняет поры древесины и предотвращает проникновение жидкостей и частичек еды.
Как правильно обработать разделочную доску из дерева. // Олег Карп
Новую разделочную доску из дерева, надо обязательно обработать перед использованием. Правильная обработка.
Какое масло можно использовать?
Подойдет любое масло, отвечающее двум требованиям: безопасность для человека (для приема внутрь) и устойчивость к порче при комнатной температуре
Обратите внимание на то, что растительное масло (например, подсолнечное и оливковое) второму требованию не отвечают, поскольку со временем портятся вне зависимости от степени их очистки. Разделочная доска, пропитанная таким маслом, через 1-2 года приобретает неприятный запах прогорклого испортившегося масла
Избавиться от этого запаха невозможно, и доску придется выбросить.
Минеральное масло
Лучше всего для профилактики использовать минеральное масло, которое можно купить в нашем магазине. Минеральное масло не имеет ни запаха, ни вкуса. Оно абсолютно безопасно для человека.
Протрите доску минеральным маслом и дайте впитаться, после этого удалите остатки масла сухой чистой салфеткой. Не бойтесь нанести слишком много масла – в данном случае, чем больше, тем лучше. Протирайте доску не реже одного раза в месяц.
Пчелиный воск
Пчелиный воск часто добавляют к минеральному маслу, чтобы добавить плотность. Веками воск использовали как герметик для защиты от влаги при изготовлении корзин, тканей, при хранении пищи и прочих скоропортящихся продуктов, а также для ухода за деревом. Воск повышает влагоустойчивость (хотя все же не делает дерево водонепроницаемым), помогает защитить разделочную доску от износа и воды. Воск остается на поверхности, заполняя поры и щели, тогда как масло впитывается в дерево и не может создать такую защитную пленку. Слой воска не позволяет влаге, бактериям и частичкам грязи проникать внутрь деревянной поверхности.
Кроме того, после обработки воском доска становится гладкой и приятной на ощупь, приобретает нежный и приятный аромат.
Мазь для досок, состоящую из пчелиного воска и минерального масла, вы также можете купить в нашем магазине. По консистенции она похожа на сливочное масло. Нанесите слой мази на доску, разотрите сухой салфеткой, затем дайте немного времени просохнуть и после отполируйте доску до блеска.
Для профилактики можно использовать ряд масел растительного происхождения, которые имеют весьма высокую цену, но, безусловно, полезны для здоровья. Кокосовое и льняное масла содержат большое количество насыщенных жиров, благодаря чему они не портятся годами. Их необязательно хранить в холодильнике, но следует избегать прямого солнечного света.
Из какого дерева сделать разделочную доску
Из какого дерева сделать разделочную доску? Или же, на какую породу дерева опираться при выборе разделочной доски для кухни, в магазине. Расскажем в статье
И все таки, выполненная из какого дерева, разделочная доска, прослужит верой и правдой. И не один месяц или год.

Из какого дерева сделать разделочную доску
Все деревянные предметы в нашей стране, преимущественно производятся из самых распространенных пород деревьев. Таких, как дуб, сосна, акация, береза и бук.

Разделочная доска из березы
Береза для разделочной доски используется очень часто. Но не из-за хороших характеристик, а скорее из-за низкой стоимости дерева. Береза плохо переносит влагу и чернеет очень быстро. Для разделочной доски это не очень хороший вариант
Доска из древесины сосны
Разделочная доска из сосны тоже не лучший вариант. Свои отличные характеристики, древесина сосны теряет при первом контакте с влагой. Кроме того, сосна-мягкое дерево. И на разделочной доске из-за этого будут оставаться следы от ножа. Сосна содержит в себе смолы, которые будут выделяться при нагревании. Доска из сосны точно не прослужит долго, станет растрескиваться и коробиться
Дубовая разделочная доска
Дубовая доска. Название говорит само за себя. Действительно, дубовая разделочная доска-идеальный выбор для кухни. Прослужит она долго, не боится влаги и отлично справляется с механическими нагрузками.
Древесина акации для разделочной доски
Деревянная разделочная доска из акации, кстати говоря, тоже совсем неплохой вариант. Самым главным достоинством древесины акации является высокая стойкость к влаге. А ведь разделочная доска постоянно моется плюс на ней режут, практически всегда, мокрые продукты. Сделать доску из акации не составит труда. Ведь древесина очень легка и комфортна в обработке. Доска из древесины акации прослужит очень долго, стойко перенося влагу и механические нагрузки.
Бук для разделочной доски
Древесина бука, как бы это странно ни звучало — плохой вариант для разделочной доски. Да, бук очень твердый и износостойкий материал. Но обладает высокой гидроскопичностью. Что для разделочной доски абсолютно не нужно. Доска из бука быстро испортиться
Конечно важно, из какого материала сделана доска. Но и уход за деревянной разделочной доской играет не последнюю роль в сроке службы кухонной утвари

- Необходимо хранить доски в открытом пространстве, не в тумбочках, шкафах и т. д.
- Разделочные доски из дерева нужно мыть после каждого использования и хорошо просушивать, опять же не в шкафчиках
- Если дерево впитало неприятный запах, можно протереть его лимоном или уксусом. Это нейтрализует раздражающий «аромат»
Процесс работы
Теперь стоит перейти к процессу работы над изготовлением кухонной доски своими руками. Сразу же стоит приготовить все необходимые для работы инструменты:
- шаблон;
- карандаш;
- ножовка и верстак;
- дрель;
- сверло;
- тиски;
- напильник.
А теперь следует просто следовать по нижеприведённой инструкции и выполнять простые действия, не забывая о соблюдении пропорций, точности исполнения, а также о технике безопасности:
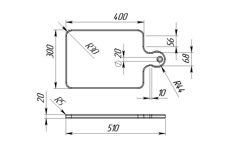
- Для начала следует приготовить доску. Она может быть дубовой, сосновой или берёзовой. Дерево может быть разным. Пользователь сам может решить, какой материал ему больше подойдёт. Используя шаблон и карандаш, понадобится осуществить разметку контуров будущей разделочной доски. Толщина изделия должна составлять 12 миллиметров. В принципе, толщина может быть и больше.
- Далее изделие потребуется выпилить по указанному контуру. Для этого надо будет использовать ножовку. С ней весьма удобно работать по дереву, так что никаких трудностей на данном этапе работы не будет.
- Ручка изделия может иметь отверстие. Оно предназначается для удобства, ведь так доску можно будет повесить на гвоздик. Дырку можно отметить шилом, после чего, используя сверло, просто её затем высверлить.
- Полученное изделие потребуется обязательно зачистить. Для этого доску надо будет закрепить в тисках, а затем напильником осуществить зачистку её поверхности. Также не стоит забывать и о зачистке краёв. Это сделать обязательно, потому что в процессе работы на поверхности доски и на её краях могут остаться сколы и щепки, которые, если их не убрать, могут попасть в пищу. А это влечёт за собой серьёзные последствия. Так что лучше не рисковать, а пару лишних раз провести напильником по поверхности изделия.
- В том случае, если хочется не просто разделочной доски, а сделать что-то интересное и необычное, то можно дать волю своей фантазии. При желании можно использовать акварельные краски и нарисовать что угодно, на что хватит идей и мастерства. После оформления доски красками потребуется просто использовать лак. Это позволит закрепить сделанный рисунок надолго. В том случае, если пользователь не очень доверяет краскам и лакам и вряд ли будет разрезать на крашеной стороне пищу, можно пойти на компромисс – рисунком украсить всего одну сторону кухонной доски, а для работы оставить другую сторону чистой. 
Разновидность разделочных досок
Разделочные доски из дерева следующих видов:
- обычные;
- декупажные;
- резные;
- декоративные;
- торцевые.
Если вы являетесь поклонником экологических материалов, деревянные дощечки – ваш выбор. Самыми дорогими и качественными считаются поверхности, выполненные из цельного куска древесины ценных пород. Как правило, такие шедевры изготавливаются исключительно вручную. Разделочная деревянная цельная доска стоит дорого, и часто выступает в качестве украшения кухонного интерьера. Для ежедневного использования хозяйки выбирают простые деревянные дощечки. Бюджетный вариант – доска, выполненная из фанеры.
Бамбуковые разделочные поверхности, на первый взгляд, похожи на деревянные доски. Но они делаются не из дерева, а из высушенного и склеенного бамбука. Бамбуковые поверхности хорошо отмываются в посудомоечных машинах, но ножи на них тупятся намного быстрее.
  Декоративная
Декоративная Декупажная
Декупажная Резная
Резная ТорцеваяОбычная
ТорцеваяОбычная
По форме
Деревянные дощечки различают по способу изготовления:
- Цельный вариант, вырезанный из фанеры или массива дерева;
- Склеенная доска из отдельных фрагментов.
Проще сделать цельную поверхность, но собранная из кусочков дощечка считается самой долговечной и прочной. Склеенная доска меньше подвергается деформации, а кроме того, мастера смогут наподобие мозаики собрать деревянный шедевр.
Разделочные доски могут быть такой формы:
- Стандартная цельная поверхность;
- Раздвижная дощечка. Несколько частей устанавливается на специальный поддон, и после использования с доски удобно собрать порезанные продукты и удалить ненужные отходы;
- Угловая рабочая поверхность из дерева, которая крепится к кухонному комплексу.
- Деревянная дощечка на ножках. Она будет надежно держаться на любой поверхности. Особенно актуально использование дощечки на ножках, когда отбивается мясо или режутся твердые овощи и фрукты.
Чтобы было удобно брать кухонный предмет с полки, чаще всего дощечка изготавливается с подобием вытянутой ручки, в которой иногда делается отверстие. С его помощью дощечку можно повесить на стенку.
  На мойку
На мойку На ножках
На ножках Раздвижная
Раздвижная Угловая
Угловая
По размеру
Оптимальная толщина разделочной доски, сделанной из дерева – 5-10 мм. Для ежедневной нарезки хлебобулочных и колбасных изделий, сыра, овощей можно использовать компактные небольшие доски. Чтобы раскатать тесто, нарезать тушку рыбы, разделать мясо, нашинковать большое количество капусты и других овощей, понадобится большая доска. Но в кухонной раковине громоздкие деревянные предметы мыть и сушить неудобно, поэтому у каждой хозяйки должно быть в арсенале несколько дощечек разного размера.




По дизайну
Кто-то предпочитает классику в виде прямоугольной разделочной поверхности. А кому-то по душе оригинальные, необычные предметы кухонного интерьера. Вариантов деревянных дощечек так много, что каждая хозяйка или профессиональный повар найдут то, что им будет по душе.
Дизайн разделочной поверхности может быть таким:
- Все вариации прямоугольной или квадратной формы;
- Геометрические фигуры;
- Изображения фруктов или овощей;
- Форма рыбы, окорока, птицы.
Дощечки могут быть украшены резьбой по дереву, инкрустацией, рисунками. Стильно смотрятся поверхности из нескольких цветов дерева. На деревянной подставке могут быть собраны несколько дощечек разной формы и размера.
Способы нанесения контуров на чертеж:
- Рисунок от руки. Это самый оригинальный способ, с помощью которого может получиться настоящее художественное произведение искусства. Используйте простой карандаш и свое вдохновение.
- Распечатка понравившегося рисунка. Найдите подходящий макет, распечатайте и перенесите на чертеж.
- Можно обвести любой предмет, это и станет основой для будущей разделочной поверхности.





Варианты декора
Обыденный кухонный инвентарь декорируют различными способами, такие модели станут хорошим подарком любой хозяйке. Деревянные изделия украшают:
- Обжигом. На поверхности выжигают геометрические орнаменты, силуэты животных, растений, фрукты.
- С помощью декупажа.
Вариант 1. Деревянную поверхность очищают наждачной бумагой, бумажную салфетку смачивают клеем ПВА и накладывают ее на доску. По желанию края салфетки разрисовывают акриловой краской, после высыхания все покрывается лаком для деревянных изделий.
Вариант 2 — декупаж с использованием файла. Рабочую поверхность покрывают акриловой краской. Из салфетки вырезают узор, который будет наноситься на кухонную утварь. Салфетку вкладывают в файл, выравнивают неровности. Доску намазывают клеем, помещают в файл под салфетку. Через натуральную ткань поверхность разглаживают, доску аккуратно вынимают из файла. После, область с декором вскрывают лаком, нанося 2-4 слоя.
- Гравировкой. На подарочном изделии вырезают или выжигают имя, инициалы хозяйки.
На стеклянных досках часто можно встретить орнаменты, рисунки. Пользуются спросом доски с фотопечатью, как на заказ, так и в готовом варианте. Обычно, на них изображают природные пейзажи, цветы, забавные картинки. Портреты, фотографии размещать на разделочной доске не принято, ведь там хозяйка будет работать ножом.
Основные художественные приёмы
Бытовые и праздничные сюжеты чаще всего встречаются в работах местных мастеров. Однако это далеко не весь потенциал их творчества. Современные художники вносят оригинальные мысли и находки в традиционные композиции.
Какими бы ни были сюжетные задумки, их объединяет единый стиль письма и используемых элементов. Вот главные из них, те, без которых не обходится почти ни одна композиция:
- Цветы. Это чаще всего розы, розаны, купавки и ромашки. Также почти на всех рисунках есть бутоны. Наиболее популярна круглая форма цветка. 
- Листья и кустики. Здесь вариантов очень много. Подобные элементы часто служат для заполнения пустых мест и рисуются почти всегда вместе с цветами.
- Люди. Рисуются всегда анфас, в нарядной одежде. Лица обычно круглые и белого цвета.
- Животные. Это могут быть собаки, кошки, зайцы и другие. Из птиц чаще всего рисуют лебедей и петухов. Всех животных изображают в профиль в отличие от людей, которые всегда красуются только в фас.
- Кони. Этот элемент присутствует почти на всех композициях, поэтому вынесен в отдельную категорию. Кони в подавляющем числе случаев вороные и по традиции рисуются только в профиль.
Существует отлаженная веками поэтапная техника выполнения городецких рисунков. Она состоит из трёх основных шагов росписи:
- Замалёвка. После нанесения контуров рисунков их закрашивают основными цветами. Обычно это красный, вишнёвый, бордовый, белый, чёрный или синий. 
- Тенёвка. После высыхания первого слоя наносят второй более тёмный. Выделяют контуры и отдельные детали.
- Оживка. Выполняется чаще всего белой краской или светлыми тонами основных цветов. Это могут быть блики, очень мелкие детали, декоративные элементы, чёрточки, точки и т. д.
Технология изготовления росписи остаётся неизменной. Чаще всего разрисовывают хорошо отшлифованную доску для городецкой росписи. Шаблон наносят прямо на неё, и текстура дерева служит фоновым декором. Некоторые мастера применяют цветную грунтовку.





